iRobot Turns to the Heavens

Posted on 05/10/2010 by carlos-31 in Domestic, Prototypes
Tags: iRobot, Mint, Nea, Roomba
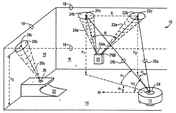
Roomba's manufacture, iRobot recently filed a patent for a new indoors navigation system. The system is called "Celestial Navigation System" and is intended to be used on domestic robots that work indoors.
iRobot Celestial Navigation System patentiRobot Celestial Navigation System patent
This navigation system is intended to compete with the new generation of domestic cleaning roots such as the Neato XV-11 and the Evolution Robotics Mint. These robots can precisely navigate around the house, which allows them to clean systematically and efficiently. On the other hand, the Roomba uses the AWARE Robotic Intelligence system to navigate avoiding obstacles and cleaning in a pseudo random pattern. Although iRobot had previously argued that their unstructured cleaning method is actually more effective than a systematic clean following efficient straight lines. They seem to be moving forward and embracing the new navigation technology. From the patent drawing we can infer the the navigation system will be rather similar to the one currently used by the Mint. Via BotJunkie.
Flag this post

Thanks for helping to keep our community civil!


Notify staff privately
It's Spam
This post is an advertisement, or vandalism. It is not useful or relevant to the current topic.

You flagged this as spam. Undo flag.Flag Post